スタッフブログ

#傾斜地の家A

崖の上に

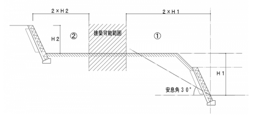
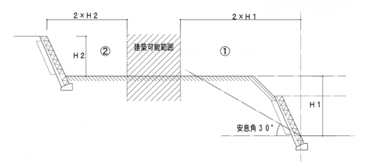
「50年に一度、100年に一度・・・」 土木の設計ではこういった設定(想定)をもとに設計を行うことになりますが、最近はもう、こんな設定には意味がないのではと思えるほどの自然災害が起こり過ぎています。今回はじめて耳にした『土砂ダム』も、近年まれに見る想定外の集中豪雨によって発生しました。大雨によって流されたいろんなものが、拡散せずに堆積し、堰となって逃げ道を塞いでしまう・・・溜まることによってエネルギーを持った水は、その決壊によりまわりの土砂崩れを引き起こしながら被害を拡大させます。こういった崖や擁壁などの段差をともなった宅地には自然災害だけでなく、自身の建物や隣の建物によって崖くずれを起こす可能性も否定できません。土地の高低差や法の角度等によってその段差が「崖」と判断されれば、基準法上では「がけ条例」というのが適用されることになります。福岡県の場合は図のように、崖の下でも上でも、その高さの2倍の離隔距離をとらなければ建物を建てることができません。非常にざっくりと「高さの2倍」と言われても、そんなに?ともそれだけ?とも感じてしまいますが文面どおりにみれば、2倍離さなければ建物は建てることが出来ないようです。高い擁壁に隣接した狭い土地なんかは建てられる部分がなくなってしまうことも考えられます。そんな場合は緩和的な措置もあり、擁壁の安全性の証明や土留め擁壁の設置など、ある一定の条件が揃えば建てることができますが、計画面やコスト面に大きな制約が出てしまいます。 法面や擁壁に隣接する土地の購入をお考えの方はその土地が「がけ条例」の対象なのかどうか、以下の点を仲介業者に確認をしておきましょう。 ①法面が30°以下かどうか。 ②段差の高低さが3mを超えていないか。 ③擁壁の安全性は確保できているか?(築造年の確認など) 「がけ条例」にかからない場合でも、高低差の大きい宅地は通常よりもコスト面で負担が増えてしまいますし、建てられる範囲の制限も出てきますので、そういった土地をお探しの方は、契約前に設計事務所など建築関係者に相談をされてから購入することをお勧めします・・・。